三通管接头,方向可调

  • 产品名称: 三通管接头,方向可调
  • 产品分类: 管线接头
  • 型号规格:
  • 产品用途:
  • 品        牌: Hansa

三通管接头,方向可调
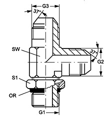
结构类型:螺纹连接
结构形式:L型
连接1:BSP标准外螺纹
密封形式:O型圈+支撑环
连接2+3:UN/UNF外螺纹
密封形式:74°外锥面密封
材料:钢
表面处理:电镀锌



三通管接头,方向可调海洋装备、换热器、电气电子、液压设备、工业标准件、卷板机